CBSE Class 8 Maths Mensuration HOTs

Refer to CBSE Class 8 Maths Mensuration HOTs. We have provided exhaustive High Order Thinking Skills (HOTS) questions and answers for Class 8 Mathematics Chapter 11 Mensuration. Designed for the 2026-27 exam session, these expert-curated analytical questions help students master important concepts and stay aligned with the latest CBSE, NCERT, and KVS curriculum.

Chapter 11 Mensuration Class 8 Mathematics HOTS with Solutions

Practicing Class 8 Mathematics HOTS Questions is important for scoring high in Mathematics. Use the detailed answers provided below to improve your problem-solving speed and Class 8 exam readiness.

HOTS Questions and Answers for Class 8 Mathematics Chapter 11 Mensuration

HOTS

Question. In the adjoining figure, find the area of the parallelogram.

""CBSE-Class-8-Maths-Mensuration-HOTs

Answer : 180 cm2

Question. Find the area of the shaded portion

""CBSE-Class-8-Maths-Mensuration-HOTs-3

Answer : 231 cm2

 

Question. Find the area bounded by the figure. (Shaded region

""CBSE-Class-8-Maths-Mensuration-HOTs-20
Answer : 203 cm2

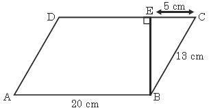
Question. Find the area of the quadrilateral ABCD given in the figure
When AC = 15 cm, BP = 10 cm, DQ = 6 cm

""CBSE-Class-8-Maths-Mensuration-HOTs-4

Answer : 120 cm2

Question. In the figure find the area of the given trapezium

""CBSE-Class-8-Maths-Mensuration-HOTs-5

Answer : 320 cm2
 

Question. Find the area of the shaded portion

Answer : 126 cm2

 

Question. In the figure find the area of the parallelogram

""CBSE-Class-8-Maths-Mensuration-HOTs-1

Answer : 240 cm2

 

Question. Find the area of quadilateral.

""CBSE-Class-8-Maths-Mensuration-HOTs-18

Answer : 160 cm2

Question. In the adjoining figure find the area of the shaded portion.

""CBSE-Class-8-Maths-Mensuration-HOTs-2

Answer : 300 cm2

Question. What is the area of shaded ring if radius of two circles are 4 cm and 3 cm?

""CBSE-Class-8-Maths-Mensuration-HOTs-8

Answer : 22 cm2

Question. The windows of a room are of the shape in the figure. How much net is required to cover 2 such windows?

""CBSE-Class-8-Maths-Mensuration-HOTs-11

Answer : 71400 cm2

 

Question. Find the area of shaded region.

""CBSE-Class-8-Maths-Mensuration-HOTs-19

Answer : 198 cm2

Question. Radha wants to make a dress which is of the shape of trapezium. How much cloth is required to make the dress shown in the fig

""CBSE-Class-8-Maths-Mensuration-HOTs-12

Answer : 1000 cm2

Question. Find the area of shaded portion

Answer : 60 cm2

 

Question. Find the area of shaded portion when DE ⊥ AB

""CBSE-Class-8-Maths-Mensuration-HOTs-6

Answer : 250 cm2

Question. Find the area of shaded portion

""CBSE-Class-8-Maths-Mensuration-HOTs-14

Answer : 120 cm2

 

Question. Find the area of the figure if the upper portion is a semi circle

""CBSE-Class-8-Maths-Mensuration-HOTs-9

Answer : 217 cm2

Question. From the adjoining figure find the area of shaded portion

Answer : 164 cm2

Question. Find the area of the shaded portion if diameter of circle is 14 cm and ABCD is a square.

""CBSE-Class-8-Maths-Mensuration-HOTs-16

Answer : 56 cm2

Question. A rectangular piece of paper 44 cm long and 10 cm broad is rolled along the length to form a cylinder. What is the radius of the base?

""CBSE-Class-8-Maths-Mensuration-HOTs-17

Answer : 7 cm

Question. Find the area of the triangle shaded in the figure. Where ABCD is a parallelogram.

""CBSE-Class-8-Maths-Mensuration-HOTs-10

Answer : 170 cm2

Question. The sum of the radius and height of a cylinder is 37cm and the total surface area of cylinder is 1628cm2. Find the height and volume of the cylinder.
Answer: 30cm, 4620 cm3
 
Question. A cuboidal fish tank has a length of 30cm, a breadth of 20cm and a height of 20cm. The tank is placed on a horizontal table and it is three - quarter full of water. Find the area of the tank which is in contact with water.
Answer: 2100 cm2
 
Question. The curved surface area of a hollow cylinder is 4375cm2. It is cut along its height and a rectangular sheet of width 35cm is formed. Find the perimeter of the rectangular sheet.
Answer: 
320 cm
 
Question. If radii of two cylinders are in the ratio 3:4 and their heights are in the ratio 6:5, find the ratio of their curved surfaces.
Answer: 9:10
 
Question. A wall 15m long, 30m wide and 4m high is made of bricks, each measuring 22cm×12cm×7.5cm. If 1/12 of the total volume of the wall consists of mortar, how many bricks are there in the wall?
Answer: 833333 (approx)
 
Question. A milk tanker cylindrical in shape having diameter 2m and length 4.2 m supplies milk to two booths in the ratio 3:2. One of the milk booths has a rectangular vessel having base area 3.96m2 and other has a cylindrical vessel having diameter 2m. Find the level of milk in each vessel.
Answer: 
2m, 1.68m
 
Question. A circular wire of radius 42cm is cut and bent in the form of a rectangle whose sides are in the ratio of 6:5. Find the smaller side of the rectangle.
Answer: 
60 cm
 
8. The area of the adjacent faces of a cuboid are x, y and z. Show that the volume of the cuboid is √xyz .
 
 
CHALLENGES
 
Take π ≈ 22/7 in the calculations below.
 
1. The area of a parallelogram is 153.6 cm2. The base measures 19.2 cm. What is the measurement for the height of the parallelogram?
 
2. In a parallelogram ABCD, AD=25 cm and AB= 50 cm. If the altitude from a vertex D on to AB measures 22 cm, what is the altitude from a vertex B on to AD?
 
3. In a parallelogram ABCD, AB=4x and AD=2x+1. If the perimeter is 38cm and area is 60 cm2, find the length of the altitude from D on to AB.
 
4. Let ABCD be a parallelogram and consider its diagonal AC. Draw perpendiculars BK and DL on to AC. Prove that BK=DL.
 
5. Let ABCD be a parallelogram. Prove that
 
2 area(ABCD) ≤ AC × BD.
For which type of parallelograms, does 2 area(ABCD)= AC×BD hold true?
 
6. The two adjacent sides of a parallelogram are 4.8 cm and 3.6 cm. The distance between the longer sides is 2.4cm. Find the distance between the other pair.
 
7. Prove that the straight line joining the mid-points of the opposite sides of a parallelogram divides it into two parallelograms of equal area.
 
8. Suppose the side of a triangle is 6 cm and the altitude from the opposite vertex to this side is 4.3 cm. Find the area of the triangle.
 
9. Show that the sum of the lengths of the perpendiculars drawn from an interior point of an equilateral
triangle on to the sides of the triangle is independent of the point chosen, but depends only on the triangle.
 
10. Prove that the triangles standing on the same base or equal bases and between same parallels are equal in area.
 
11. Suppose the sides of a triangle are in the ratio 4:5:7. Find the ratio of the altitudes.
 
12. The length of one base of a trapezium is four times the length of the other. If the height of the trapezium is 6 cm and its area is 30 cm2, find the length of the bases.
 
13. A rhombus has diagonals 8 cm and 9 cm. What is the side length of a square whose area is equal to that of the given rhombus?
 
14. Three metal cubes whose edges measure 3 cm, 4 cm and 5 cm respectively are melted to form a single cube. Find a. side-length b. total surface area of the new cube. What is the difference between the total surface area of the new cube and the sum of the total surface areas of the original three cubes?
 
15. Two cubes, each of volume 512 cm3 are joined end to end. Find the lateral and total surface area of the resulting cuboid.
 
16. The length, breadth and height of a cuboid are in the ratio 6:5:3. If the total surface area is 504 cm2, find its dimensions. Also find the volume of the cuboid.

17. How many m3 of soil has to be excavated from a rectangular well 28 m deep and base dimensions 10m and 8 m. Also find the cost of plastering its vertical walls at the rate of ` 15/m2.

18. A solid cubical box of fine wood costs ₹ 256 at the rate of ₹ 500/m3. Find its volume and length of each side.

19. Find the total surface area and volume of a cube whose length is 12 cm.

20. Find the volume of a cube whose surface area is 486 cm2.

21. A tank, which is cuboidal in shape, has volume 6.4 m3. The length and breadth of the base are 2 m and 1.6 m respectively. Find the depth of the tank.

22. Find the area of four walls of a room having length, breadth and height as 8 m, 5 m and 3 m respectively.
Find the cost of white-washing the walls at the rate of ₹ 15/m2.

23. A room is 6 m long, 4 m broad and 3 m high. Find the cost of laying tiles on its floor and four walls at the rate of ₹ 80/m2.

24. The length, breadth and height of a cuboid are in the ratio 5:3:2. If its volume is 35.937 m3, find its dimensions. Also find the total surface area of the cuboid.

25. Suppose the perimeter of one face of a cube is 24 cm. What is its volume?

26. A wooden box has inner dimensions l=6 m, b=8 m and h=9 m and it has uniform thickness of 10cm.
The lateral surface of the outer side has to be painted at the rate of ₹ 50/m2. What is the cost of painting?

27. Each edge of a cube is increased by 20%. What is the percentage increase in the volume of the cube?

28. Suppose the length of a cube is increased by 10% and its breadth is decreased by 10%. Will the volume of the new cuboid be the same as that of the cube? What about the total surface areas? If they change, what would be the percentage change in both the cases?

29. The diameter of a cylindrical roller is 84 cm and its length is 120 cm. If it takes 500 revolutions to level a play ground, what is the cost of levelling at the rate of ₹1 per m2?

30. A well with 10 m diameter is dug 14 m deep. The soil thus taken out, is spread all around to a width of 5 m to form an embankment. Find the height of the embankment.

31. The difference between the outside and inside surfaces of a cylindrical metallic pipe 14 cm long is 44 cm2. If the pipe is made of 99 cm3 of metal, find the outer and inner radii of the pipe.

SUMMARY

1. The perimeter of a closed plane figure is the total length of the line segments enclosing the figure.

2. The magnitude of a plane region is called its area.

3. The amount of space enclosed by the bounding surface or surfaces of a solid is called the volume of the solid.

4. Perimeter of a triangle is the sum of the length of its sides.

5. Perimeter of a rectangle = 2(l+b)

6. Perimeter of a square = 4×S

7. Perimeter of a regular polygon = number of sides ×length of its side.

8. Area of a rectangle = l×b

9. Area of a parallelogram = base × height

10. Area of a triangle = ½×b×h

11. Area of a trapezium = 1/2 (sum of parallel sides)×h

12. Area of a rhombus = 1/2 ×d1×d2, where d1 and d2 are diagonals.

13. Area of a square = S2

14. Area of a square = (diagonal)2/2

15. Diagonal of a square = √2 × side

16. Area of a regular polygon = 1/2 (perimeter of polygon)×(perpendicular distance from centre to any side)

17. Circumference of a circle = 2πr

18. Area of a circle = πr2

19. Area of a ring = π(R2–r2)

20. Lateral surface area of a cuboid =2(l+b)h

21. Total surface area of a cuboid = 2(lb+bh+lh)

22. Diagonal of a cuboid = √l2 + b2 + h2

23. Lateral surface area of a cube =4S2

24. Total surface area of a cube = 6S2

25. Diagonal of a cube = 3√a

26. Curved / lateral surface area of a cylinder = 2πrh

27. Total surface area of a cylinder = 2πr(h+r)

28. Volume of a cuboid = l×b×h

29. Volume of a cube =S3

30. Volume of a cylinder = πr2h

31. Volume of a hollow cylinder = πh(R2–r2)

ERROR ANALYSIS

1. Students are not able to differentiate whether the problem is concerning Volume or Surface Area.

2. If units are different they often forget to convert them and get a wrong answer.

3. Students face problem in interpreting the word problems.

ACTIVITY

Aim : To make an open box of the largest possible volume from a given sheet of paper.
Material needed : Chart paper, scissors.
Making an open box
Take a square sheet of chart paper of side 24 cm.
To make an open box, proceed as follows.

Step 1 : Cut out a square piece of any size from one corner of your sheet. Cut out a square piece of the same size from each of the other corners as well. .

Step 2 : Fold up the edges of the paper to form a box, as shown in Figure.
Since you are required to make an open box, you do not have to make a lid. And since you have started with a square sheet of paper, your box will have a square base. 
cbse-class-8-maths-mensuration-hots

Investigation 1

a. Suppose you cut out a square of side 1 cm from each corner of your sheet of side 24 cm, what will be the height of your box? What will be the length of its base? Calculate the volume of the box.
b. Now suppose you cut out a square of side 2 cm from each corner, what will be the volume of your box now?
c. Find a formula for calculating the volume of the box in terms of the length of a side of the square cut out from each corner of the original sheet.
d. Calculate the volume of the boxes obtained by cutting squares of side 3 cm, 4 cm, 5 cm,..., 9 cm and 10 cm respectively from the original sheet. Tabulate your answers in the given table and answer the questions that follow.

Side of square cut from each corner (cm) 1 2 3 4 5 6 7 8 9 10
Height of box (cm)
Length of base (cm)
Width of base (cm)
Volume of box (cm3)
i. What is the largest volume? .
ii. What size of squares cut out gives the largest volume?
iii. When will the volume of the box be 0? .

Investigation 2

Take a rectangular sheet of chart paper of length 45 cm and width 24 cm. Make an open box from it by cutting out a square from each corner and folding up the edges. Note that your box will have a rectangular base, as your original sheet is rectangular.

a. Suppose you cut out a square of side 1 cm from each corner. What will be the height of the box?
What will be the dimensions of its base? Calculate the volume of the box.
b. Find a formula for calculating the volume of the box in terms of the length of a side of the square
cut out from each corner of the original sheet.
c. Calculate the volume of the boxes obtained by cutting squares of side 2 cm, 3 cm, 4 cm, 5 cm,...,
9 cm and 10 cm respectively from the original sheet. Tabulate your answers in the given table and
answer the questions that follow.
Side of square cut from each corner (cm) 1 2 3 4 5 6 7 8 9 10
Height of box (cm)
Length of base (cm)
Width of base (cm)
Volume of box (cm3)
i. What is the largest volume?
ii. What size of squares cut out gives the largest volume?
iii. When will the volume of the box be 0?

HELP SHEET

Investigation 1

a. The height of the box, being equal to the length of the square cut out from each corner, will be 1 cm.
The length of the square base of the box will be 24 - (2 x 1) = 22 cm. The volume of the box will be 1 × (22)2 = 484 cm3

b. If a square of side 2 cm is cut out from each corner of the original sheet, the volume of the box formed will be 2 × (20)2 = 800 cm3

c. The formula for finding the volume of the box is V = x(24–2x)2 where V is the volume of the box and x is the length of a side of the square cut out from each corner of the original sheet.

d. 
cbse-class-8-maths-mensuration-hots
i. The largest volume is 1,024 cm3.
ii. The largest volume is obtained when a square of side 4 cm is cut out from each corner of the original sheet.
iii. The volume of the box will be 0 if squares of side 0 cm each (i.e., no squares) or squares of side 12 cm each are cut out from the corners of the original sheet. In both these cases no box will be formed.

Investigation 2

a. The height of the box, being equal to the length of the square cut out from each corner, will be 1cm.
The base of the box will have a length of 45 - (2 x 1) = 43 cm and a width of 24 –(2 x 1) = 22cm.
The volume of the box will be 1x43 x 22 = 946 cm3

b. The formula for finding the volume of the box is V=x(45–2x)(24–2x) where V is the volume of the box and x is the length of a side of the square cut out from each corner of the original sheet.

c. 
cbse-class-8-maths-mensuration-hots
i. The largest volume is 2,450 cm3.
ii. The largest volume is obtained when a square of side 5 cm is cut out from each corner of the original sheet.
iii. The volume of the box will be 0 if squares of side 0 cm each (i.e., no squares) or squares of side 12 cm each are cut out from the corners of the original sheet. In both these cases no box will be formed.

~ Class 8 Mathematics (Old Chapters)
CBSE Class 8 Maths Mensuration HOTs

HOTS for Chapter 11 Mensuration Mathematics Class 8

Students can now practice Higher Order Thinking Skills (HOTS) questions for Chapter 11 Mensuration to prepare for their upcoming school exams. This study material follows the latest syllabus for Class 8 Mathematics released by CBSE. These solved questions will help you to understand about each topic and also answer difficult questions in your Mathematics test.

NCERT Based Analytical Questions for Chapter 11 Mensuration

Our expert teachers have created these Mathematics HOTS by referring to the official NCERT book for Class 8. These solved exercises are great for students who want to become experts in all important topics of the chapter. After attempting these challenging questions should also check their work with our teacher prepared solutions. For a complete understanding, you can also refer to our NCERT solutions for Class 8 Mathematics available on our website.

Master Mathematics for Better Marks

Regular practice of Class 8 HOTS will give you a stronger understanding of all concepts and also help you get more marks in your exams. We have also provided a variety of MCQ questions within these sets to help you easily cover all parts of the chapter. After solving these you should try our online Mathematics MCQ Test to check your speed. All the study resources on studiestoday.com are free and updated for the current academic year.

Where can I download the latest PDF for CBSE Class 8 Maths Mensuration HOTs?

You can download the teacher-verified PDF for CBSE Class 8 Maths Mensuration HOTs from StudiesToday.com. These questions have been prepared for Class 8 Mathematics to help students learn high-level application and analytical skills required for the 2025-26 exams.

Why are HOTS questions important for the 2026 CBSE exam pattern?

In the 2026 pattern, 50% of the marks are for competency-based questions. Our CBSE Class 8 Maths Mensuration HOTs are to apply basic theory to real-world to help Class 8 students to solve case studies and assertion-reasoning questions in Mathematics.

How do CBSE Class 8 Maths Mensuration HOTs differ from regular textbook questions?

Unlike direct questions that test memory, CBSE Class 8 Maths Mensuration HOTs require out-of-the-box thinking as Class 8 Mathematics HOTS questions focus on understanding data and identifying logical errors.

What is the best way to solve Mathematics HOTS for Class 8?

After reading all conceots in Mathematics, practice CBSE Class 8 Maths Mensuration HOTs by breaking down the problem into smaller logical steps.

Are solutions provided for Class 8 Mathematics HOTS questions?

Yes, we provide detailed, step-by-step solutions for CBSE Class 8 Maths Mensuration HOTs. These solutions highlight the analytical reasoning and logical steps to help students prepare as per CBSE marking scheme.